Sådan installeres røgdetektorer med fast kabling?

Røgdetektorer kræves af elektrisk kode næsten overalt og med god grund: Forskning viser, at røgdetektorer redder liv og ejendom ved at advare beboere til både tidlige og ulmende brande. Brande begynder ofte så stille, at beboerne ikke har nogen idé om, at deres bolig er i brand, før det er for sent. Røgdetektorer forbliver vågen hele dagen og hele natten og registrerer konstant selv de svageste tegn på røg og ild.
Røgalarmer fungerer kun, når de har en kontinuerlig elektrisk opladning. Når batterier dør, er røgdetektorer ubrugelige. Undersøgelser har vist, at ca. 25 procent af alle mislykkede røgdetektorer var forårsaget af døde batterier.
Hvad er en hardwired røgdetektor?
Hardwired er et udtryk, der betyder, at et elektrisk kabel løber direkte ind i et elektrisk udstyr. Enheden tilsluttes ikke en elektrisk stikkontakt.
Udefra ser hardwired røgdetektorer meget ud som batteridrevne røgdetektorer og er placeret i de samme områder i hjemmet. Forskellen er, at et elektrisk kabel løber usynligt bag loftet eller væggen direkte ind i rygdetektorens bagside. Det elektriske kabel tilfører strøm til røgdetektoren hele tiden, undtagen i tilfælde af strømsvigt. Hvis strømmen svigter, overtager det indbyggede batteri og fortsætter med at tænde røgdetektoren.
Koder og forskrifter
Kontakt dit lokale tilladelsesbureau for koder og regler vedrørende hardwired røgdetektorer. I mange samfund kræves der i stigende grad hardwired-røgdetektorer i forbindelse med nybyggeri og ombygning af boliger. Selvom kode ikke kræver, at du installerer røgdetektorer i dit hjem, kan du overveje at gøre det, da de er mere pålidelige og dermed sikrere end røgdetektorer, der kun er batteri.
Hvornår skal man installere røgdetektorer med fast kabling?
Da alt arbejde i forbindelse med hardwired røgdetektorer er placeret indendørs, er dette projekt ikke sæsonfølsomt; de kan installeres når som helst i løbet af året.
Sikkerhedshensyn
Sørg for, at alle elektriske kredsløb, der kører til røgdetektorerne, vendes af. Sørg for at kontrollere alle forbindelser med en spændingsdetektor, før du arbejder på dem. Brug altid øjenbeskyttelse.
Projektmålinger
- Arbejdstid: 4 timer (for to røgalarmer i to tilstødende rum)
- Samlet tid: 5 timer
- Færdighedsniveau: Ekspert
- Materielle omkostninger: 37€ til 75€
Hvad du får brug for
Udstyr / værktøj
- Akku-boremaskine
- Seks fods stige
- Hammer
- Målebånd
- Blyant
- Gipsvægssav
- Spændingstester
- Wire stripper
- Wire ripper
- Stud finder
- Øjenbeskyttelse
Materialer
- Hardwired røgdetektorer
- Elektriske kasser
- Trådmøtrikker
- 11 NM-kabel
- 10,67 NM-kabel
Instruktioner
Marker placeringer for røgdetektorbokse
Find de bedste placeringer for røgdetektorer. Lofter er generelt det bedste sted for røgdetektorer, da røg stiger. Hvis detektoren installeres på en væg, skal den installeres inden for 30 centimeter fra loftet. Brug stiftsøgeren til at finde loftsbjælker eller vægstifter. Hold elboksen bagud og brug omkredsen af ansigtet som en skabelon. Tegn rundt omkredsen med en blyant. Sørg for at finde kasser direkte ved siden af bjælker eller knopper.
Skær gipsvæggen til kassen
Skær gipsvæggen ud til de to kasser med gipsvæggen.
Installer kablet i den første kasse
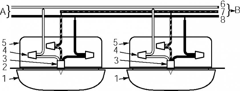
Fra det elektriske servicepanel (ellers kendt som kredsløb eller sikringsboks) skal du køre 11 NM-kabel eller på anden måde som angivet i enhedens instruktioner til området til den første boks.
Installer kablet fra den første kasse til den anden kasse
Fra den første boks skal du køre 10,67 NM-kabel eller på anden måde som angivet i enhedens instruktioner fra den første boks til den anden boks.
Tilslut ledningerne
Det elektriske kabel leverer strøm til røgdetektoren hele tiden, undtagen i tilfælde af strømsvigt.I den første boks ved anvendelse af trådmøtrikker, hvor det er relevant:
- Tilslut de to sorte ledninger, og tilføj den sorte ledning fra den anden røgdetektor
- Tilslut alle hvide ledninger
- Tilslut alle blotte kobberjordledninger og pigtail dem til kassen
- Tilslut den røde ledning til forbindelsesledningen fra røgdetektoren, normalt markeret som gul
Monter beslaget på kassen
Sæt røgdetektorens monteringsbeslag på kassen, og juster den med de to skruehuller. Før ledningerne gennem beslaget. Skru beslaget på plads.
Sæt røgdetektoren i
Fastgør røgdetektoren via den tre-polede forbindelse bag på detektoren.
Installer backup-røgdetektorbatteriet
Sæt batteriet i røgdetektoren, og juster de positive og negative terminaler i den korrekte konfiguration. Sæt dækslet på igen.
Fastgør røgdetektoren til basen
Alle hardwired røgdetektorer fastgøres forskelligt til deres baser. Se instruktionerne. Generelt skal du dog skubbe hakkene på detektoren ind i slots på basen og derefter dreje.
Gentag for den anden røgdetektor
Gentag processen for den anden tilsluttede røgdetektor med ledningstilslutningstrinnet. Du tilslutter færre ledninger, hvis dette er en slutkør røgdetektor.
Fastgør kablet til afbryderen
Fjern frontpanelet på servicepanelet. Sæt det elektriske kabel, der fører røgdetektorerne, til en afbryder med passende størrelse. Generelt vil dette være en afbryder på 20 ampere.
Tænd for afbryderen og test
Sæt frontpanelet på igen, og vend derefter afbryderen til røgdetektorerne. Test hver afbryder ved at trykke på dens testknap.
Da hardwired røgdetektorer har en sammenkoblingsfunktion, skal du sørge for at andre røgdetektorer lyder, når en røgdetektor testes.
Tip
Sørg for, at du altid bruger øjenbeskyttelse, når du tænder for hovedafbryderen for første gang, efter at du har tilsluttet den til røgdetektorerne.
Hvornår skal man ringe til en professionel
Hardwiring røgdetektorer er et avanceret projekt, der har en direkte indvirkning på din sikkerhed. Hvis du overhovedet føler dig utilpas med din evne til at installere disse enheder, skal du ringe til en autoriseret elektriker for at få hjælp.